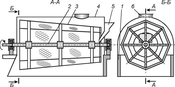
Барабанный просеиватель 30м3/час

Наименование: барабанный грохот с круглым барабаном
Назначение: для рассева ПГС/ отсева.
может применяться для рассева нерудных материалов: доломит/известняк, щепа, грунт/чернозем.
Есть очистка сетки.
Габарит барабана - ф1500 х длина 3000мм
Привод - мотор 3кВт
Есть верхний кожух, пылесдерживающий.
Минимальный ячейка устанавливаемой сетки - 1.0мм (сетка плетеная нержавейка)
Тип устанавливаемой сетки: плетеная для грохотов ГИЛ или сетка плетеная нержавейка
Грохот может поставляться со встроенным ленточным транспортером.
_____________
Грохот может быть в исполнении барабана - полигональный или шестигранный формы. типоразмер 176М1
04.05.2025

Другие объявления автора: Павел Юрьевич ГАТАЛ - производство грохотов

Оборудование мойки гравия и щебня 10т/час

Оборудование мойки гравия и щебня 10т/час

Барабанная гравиемойка.  Промывка щебня выполняется в следующей секции барабана с установленной сеткой.   Перед отправкой оборудование проход испытание и обкатку. Применяемые форсунки - полиуретановые с плоским факелом распыления. Основные параметры: Производительность 10 т/час Угол наклона регулируемый: 3 - 7град Количество фракций после сортировки 2 Фракция материала до 150мм Оборот грязной воды 15м3 час Насос типа СМ Сито плетенная из износостойкой стали или решето из арматуры Привод 1Ц2У  Мощность электродвигателя, кВт 5,5 барабан опирается на опорные ролики отстойник 1м3, Д2500 х Ш12500 х В400 Габаритные размеры Д 3.7 х Ш 1.4 х В 2.8 Вес 1100Производитель: Собственное производство

420 000 руб.
Ростов-на-Дону
Оборудование мойки гравия и щебня 20т/час

Оборудование мойки гравия и щебня 20т/час

Барабанная гравиемойка. Исполнение гравиемойки для щебня с сильным загрязнением, таким как налипшие куски глины на щебне. Барабан гравиемойки имеет глухую секцию, в которой происходит механическое предварительное отделение глины от щебня. После, промывка щебня выполняется в следующей секции барабана с установленной сеткой. Размер ячейки любое по желанию заказчика. Угол наклона гравиемойки равен 5 град. Гравиемойка комплектуется: насосом типа СМ или аналогичным. Также рукавом для подключения насоса к гравиемойки и для сброса/забора воды из отстойника. Перед отправкой оборудование проход испытание и обкатку. Применяемые форсунки - полиуретановые с плоским факелом распыления. На основе гравиемойки возможна поставка промывочного комплекса, который состоит из: - гравиемойки с насосом и отстойником - ленточного конвейера для загрузки материала в гравиемойку из приемного бункера - приемный бункер на 3 или 6м3. Технические характеристики: Производительность 18-22 т/час Угол наклона регулируемый 3-7град Количество фракций после сортировки 2 Фракция материала, мм до 150мм Оборот грязной воды форсунки-отстойник 25м3/час Насос СМ Скорость вращения барабана 17 Сито плетенная из износостойкой стали или решето из арматуры Привод 1Ц2У  Мощность электродвигателя, кВт 4 Габаритные размеры Д 4600 х Ш 1400 х В 2900 Вес 1600Производитель: Собственное производство

Ростов-на-Дону
Скруббер-бутара 100т час

Скруббер-бутара 100т час

Оборудование мойки гравия и щебня Мойка гравиемойка может быть выполнена в двух исполнениях: - мойка щебня с сильным загрязнением, таким как налипшие куски глины на щебне. - мойка щебня от пылевидного загрязнения и от включений глины В первом случае барабан гравиемойки имеет глухую секцию, в которой происходит механическое предварительное отделение глины от щебня. После, промывка щебня выполняется в следующей секции барабана с установленной сеткой. Тип устанавливаемой сетки – из износостойкой стали для грохотов. Размер ячейки любое по желанию заказчика. Угол наклона гравиемойки 5 град Гравиемойка комплектуется: насосом типа СМ или аналогичным. Также рукавом для подключения насоса к гравиемойки и для сброса/забора воды из отстойника. Перед отправкой оборудование проход испытание и обкатку. Применяемые форсунки - полиуретановые с плоским факелом распыления. На основе гравиемойки возможна поставка промывочного комплекса, который состоит из: - гравиемойки с насосом и отстойником - ленточного конвейера для загрузки материала в гравиемойку из приемного бункера - приемный бункер на 3 или 6м3. Технические характеристики: Производительность от 5 до 100 т час Угол наклона 5 Количество фракций после сортировки 2 Фракция материала, мм до 150мм Оборот грязной воды (форсунки-отстойник), 50м3/час  Насос СМ Скорость вращения барабана 13 об/мин Сито плетенная из износостойкой стали или решето из арматуры Привод 1Ц2У

Ростов-на-Дону
Оборудование мойки щебня 5т/час

Оборудование мойки щебня 5т/час

Барабанная гравиемойка. На 5т/час Тип устанавливаемой сетки – из износостойкой стали для грохотов. Размер ячейки сита – любое по тех условиям заказчика Гравиемойка комплектуется: насосом типа СМ Полиуретановые форсунки. Плоский факел распылени. На основе гравиемойки возможна поставка промывочного комплекса, который состоит из: - гравиемойки - ленточного конвейера для загрузки материала в гравиемойку из бункера - приемный бункер на 3 или 6м3. Комплектация: гравиемойка, отстойник 1м3 воды, насос с рукавом забора воды и подачи воды, лотки загрузки/выгрузки щебня, паспорт Гарантия - 1.5 года.  Оборудование постовляет проверенным и испытанным полностью готовым к работе. Технические характеристики: Производительность - 5т/час Угол наклона 5 град Количество фракций после сортировки 2 Насос СМ  Скорость вращения барабана 17 Сито плетенная из износостойкой стали Привод 1Ц2У  Мощность электродвигателя, кВт 3 Габаритные размеры Д 2700 х Ш 1100 х В 1700 Вес, кг 600 Видео работы: по запросу ссылки по телефону или почтеПроизводитель: Собственное производство Гравиемойка ГБ-5: 5 Длина: 270 см Ширина: 110 см Высота: 160 см Вес: 600 кг

380 000 руб.
Ростов-на-Дону
Грохот ГИЛ-21/22

Грохот ГИЛ-21/22

Поставим грохот ГИЛ для рассева нерудных материалов ( ПГС, щебень, доломит/известняк, порода, зола, уголь Производительность - до 10т час на сите 5х5мм Устанавливаем сита - плетеные сложнорифленые с ячейками от 2х2 до 70х70ммм Общее описание: • Производительность 30т/час • Привод 3кВТ • Размеры сит 1000 х 2000

230 000 руб.
Воронеж
Грохот ГИЛ

Грохот ГИЛ

Грохот инерционный легкого типа ГИЛ предназначен для разделения по крупности сыпучих материалов плотностью до 1400 кг/м3 и крупностью 0.1 – 50мм. - галька, мелкая щебенка, отсев, песок, глина, торф, щепа, керамзит, красная порода с отвала Общее описание: • Производительность 15 м3 /час • Частота колебаний - 1000 об/мин / 16 Гц • Угол наклона, градусов – 15-25 • Привод 3кВТ • Размеры сит 1000 х 2000 В наличии и под заказ просеиватели ГИЛ-11,-12; ГИЛ-21,-22; ГИЛ-31,-32.

200 000 руб.
Ростов-на-Дону
выполнение работ по ремонту реверса дизеля

выполнение работ по ремонту реверса дизеля

Военно-промышленный холдинг «Кингисеппский машиностроительный завод» в рамках государственного контракта выполнит работы по ремонту реверса дизеля типа М401Б. Реверсивная муфта позволяет: Отключать редуктор от двигателя после запуска, чтобы избежать лишних механических потерь, шумов и вибраций. Вновь входить в зацепление после остановки двигателя, и система готова к очередному пуску дизеля. Военно-промышленный холдинг «Кингисеппский машиностроительный завод» обладает собственными производственными площадями, оснащёнными современным технологическим оборудованием, складами запасных частей, технической документацией, позволяющими выполнять своевременное и качественное техническое обслуживание и ремонт дизельных двигателей, как в нашей сервисной зоне, так и с выездом по всей России. Предприятие сертифицировано по системе менеджмента качества ИСО 9001-2008 (ISO 9001:2008), имеет все необходимые лицензии и сертификаты. Контроль качества выполнения работ осуществляет ОТК предприятия и аккредитованное ВП МО РФ.

5 р.
Когалым
Валковая дробилка двг-1000/1000, б/у.

Валковая дробилка двг-1000/1000, б/у.

Валковая дробилка двг-1000/1000, б/у. Валковая дробилка ДВГ-1000/1000 предназначена для дробления кусковых материалов низкой и средней прочности 700-1200 кгс/см2. с влажностью до 25%. Дробилку можно использовать для тонкого и среднего измельчения кварца, гипса, известняка, мела, мергеля, угля, глинистого сланца, переработки шлака и т.п. Производительность, при зазоре между валками 10 мм. до 120 м3/час. Диаметр валков , мм - 1 000. Ширина валков, мм - 1 000. Число оборотов валков об\мин - 290 х 190. Зазор между валками, мм -1-15. Установленная мощность, кВт – 130. Габаритные размеры (длина х ширина х высота), мм - 5 690 х 4 300 х 1 820. Масса, кг-14300.

Таганрог
Изготовление комплектующих для газовых турбин.

Изготовление комплектующих для газовых турбин.

Военно-промышленный холдинг «Кингисеппский машиностроительный завод» осуществляет изготовление комплектующих различных форм сложности, применяемых при капитальных и аварийно-восстановительных ремонтах газотурбинных двигателей. Необходимость в производстве таких изделий была вызвана отсутствием на рынке запасных частей, в том числе ввиду санкционных ограничений, и осуществляется при поддержке реинжинирингового подразделения Холдинга. Работа осуществляется в рамках реализации программы импортозамещения, в совместной кооперации между предприятиями Холдинга и включает в себя полный производственный цикл изготовления, от проектирования до стендовых испытаний готовых изделий. Данная продукция успешно зарекомендовала себя в работе и уже более пяти лет применяется при выполнении ремонтов, в том числе для нужд дочерних обществ ПАО «Газпром», предприятий нефтедобычи и добычи полезных ископаемых, электроэнергетических и сервисных компаний, а также предприятий МО РФ.

Санкт-Петербург
Захват для подъема вертикальный СибТаль, модель DSQA, 1Т

Захват для подъема вертикальный СибТаль, модель DSQA, 1Т

Захват Сибталь DSQA – это простое и удобное приспособление для работы с листовыми материалами. Грузоподъемность захвата 1000 кг, и тестовая нагрузка 1250 кг, данный вертикальный захват обеспечивает высокую продуктивность и безопасность при перемещении различных конструкций и изделий. Компактные размеры захвата (14×5×27 см) позволяют легко использовать его в ограниченных пространствах, для исключения случайного открытия и выскальзывания груза у модели есть специальный стопорный механизм. У модели DSQA предусмотрена возможность прикрепления каната к стопроному механизму, для того чтобы снимать со стопора захват удалённо. Это повышает безопасность и эффективность на производственных и строительных площадках. С весом всего 3.9 кг, захват DSQA легко транспортировать и устанавливать, это значительно экономит время при подготовке к работам. Вертикальный захват DSQA характеризуется высокой прочностью и надежностью, что гарантирует долговечность в условиях интенсивной эксплуатации. У захвата модели Сибталь DCQA нет даже минимального зазора в замкнутом положении, что даёт возможность работы с тонкими листами металла, делая его универсальным инструментом для различных отраслей. DSQA обеспечивает надежный захват, что особенно важно при работе тяжелыми изделиями. Этот инструмент демонстрирует отличные эксплуатационные характеристики и соответствует требованиям безопасности. Захват Сибталь DSQA – это инструмент, сочетающий не высокую цену и качество, обеспечивая надежную и безопасную работу особенно с листовыми материалами. КОД ТОВАРА: 13862 Основные параметры Грузоподъемность, т: 1 Модель DSQA Дополнительные параметры Тестовая нагрузка, кг: 1250 Габариты и вес Габариты (ДхШхВ): 14×5×27 см Вес: 3.9 кг

1 550 р.
Красноярск
Захват для подъема горизонтальный СибТаль, модель DHQ, 1Т

Захват для подъема горизонтальный СибТаль, модель DHQ, 1Т

Захват для листов Сибталь DHQ - это простое и надежное приспособление для захвата и подъема металлических листов. Эта модель обеспечивает прочный захват и удержание груза, что обеспечивает высокую производительность и безопасность в процессе работ. С грузоподъемность модели Сибталь DHQ: 1000 кг. (на пару), тестовой нагрузкой 1250 кг, захват DHQ применяется в строительстве, на производстве, в складских операциях. Основные параметры: зев от 0 до 30 мм, позволяет использовать его для листов различной толщины. Компактные размеры (14,5×5,4×21,5 см) и вес всего 3.8 кг делают его удобным для хранения или транспортировки. Захват разработан с учетом современных требований к надежности и долговечности, что делает его оптимальным выбором для профессионалов. Горизонтальный захват DHQ обеспечивает стабильное и безопасное крепление металлических листов, что особенно важно при выполнении сложных подъемных операций. Его конструкция позволяет минимизировать риск повреждения материала, что позволяет выполнять работы с деликатными поверхностями. Применяется парами или двойными парами. Этот захват активно используется на стройплощадках и в производственных цехах, где требуется простое и безопасное оборудование. КОД ТОВАРА: 14684 Основные параметры Грузоподъемность, т: 1 Модель: DHQ Дополнительные параметры Зев, мм: 0-30 Тестовая нагрузка, кг: 1250 Габариты и вес Габариты (ДхШхВ): 14,5×5,4×21,5 см Вес: 3.8 кг

1 150 р.
Красноярск